
تاريخ الفيزياء

علماء الفيزياء


الفيزياء الكلاسيكية

الميكانيك

الديناميكا الحرارية


الكهربائية والمغناطيسية

الكهربائية

المغناطيسية

الكهرومغناطيسية


علم البصريات

تاريخ علم البصريات

الضوء

مواضيع عامة في علم البصريات

الصوت


الفيزياء الحديثة


النظرية النسبية

النظرية النسبية الخاصة

النظرية النسبية العامة

مواضيع عامة في النظرية النسبية

ميكانيكا الكم

الفيزياء الذرية

الفيزياء الجزيئية


الفيزياء النووية

مواضيع عامة في الفيزياء النووية

النشاط الاشعاعي


فيزياء الحالة الصلبة

الموصلات

أشباه الموصلات

العوازل

مواضيع عامة في الفيزياء الصلبة

فيزياء الجوامد


الليزر

أنواع الليزر

بعض تطبيقات الليزر

مواضيع عامة في الليزر


علم الفلك

تاريخ وعلماء علم الفلك

الثقوب السوداء


المجموعة الشمسية

الشمس

كوكب عطارد

كوكب الزهرة

كوكب الأرض

كوكب المريخ

كوكب المشتري

كوكب زحل

كوكب أورانوس

كوكب نبتون

كوكب بلوتو

القمر

كواكب ومواضيع اخرى

مواضيع عامة في علم الفلك

النجوم

البلازما

الألكترونيات

خواص المادة


الطاقة البديلة

الطاقة الشمسية

مواضيع عامة في الطاقة البديلة

المد والجزر

فيزياء الجسيمات


الفيزياء والعلوم الأخرى

الفيزياء الكيميائية

الفيزياء الرياضية

الفيزياء الحيوية

الفيزياء العامة


مواضيع عامة في الفيزياء

تجارب فيزيائية

مصطلحات وتعاريف فيزيائية

وحدات القياس الفيزيائية

طرائف الفيزياء

مواضيع اخرى
تغيير نقط التقسيم عن طريق ممانعة ومفاتيح تحويل
المؤلف:
الدكتور كاميليا يوسف محمد
المصدر:
المحولات الكهربائية
الجزء والصفحة:
177
5-11-2021
2468
تغيير نقط التقسيم عن طريق ممانعة ومفاتيح تحويل
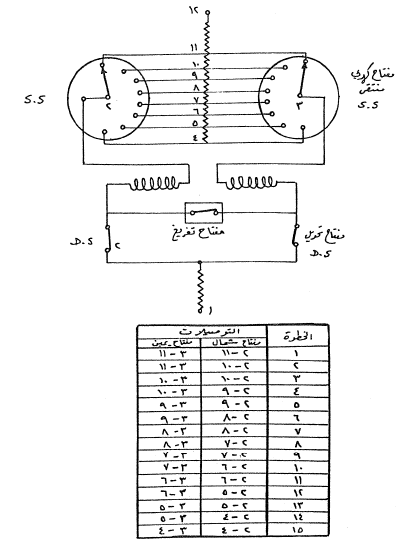
ان مفاتيح التحويل كما في شكل (1) ، يحتوي المحول في هذه الحالة على عدد 15 خطوة ، يمكن الحصول عليها بأستخدام عدد 2 مفتاح كهربي منتقى (Selector Switch) وعدد 2 مفتاح تحويل (Diverter Switch) يوجد ترابط ميكانيكي بين مفتاح التحويل ومفتاح كهربي منتقى، الجدول المرفق يوضح وضع المفاتيح المقابل لكل خطوة من خطوات المحول.
لتغيير خطوة المحول من الخطوة رقم 1 إلى رقم 2 يفتح D.S رقم 2 ، يحرك S.S رقم 2 من نقطة التقسيم 11 الى نقطة التقسيم 10 ثم يقفل D.S رقم 2 .
لتغيير خطوة المحول من الخطوة رقم 2 إلى الخطوة رقم 3 نبدأ بنفس النظام بأستخدام D.S رقم 3 مكان D.S رقم 2 وتتبع نفس وضع المفاتيح بالجدول المرفق.

شكل (1): تغيير نقط التقسيم عن طريق تغيير ممانعة
الاكثر قراءة في الكهربائية
اخر الاخبار
اخبار العتبة العباسية المقدسة
الآخبار الصحية

قسم الشؤون الفكرية يصدر كتاباً يوثق تاريخ السدانة في العتبة العباسية المقدسة
"المهمة".. إصدار قصصي يوثّق القصص الفائزة في مسابقة فتوى الدفاع المقدسة للقصة القصيرة
(نوافذ).. إصدار أدبي يوثق القصص الفائزة في مسابقة الإمام العسكري (عليه السلام)